Firmenhistorie
Grundidee
 (Ende 2009)
Der Grundgedanke, den Florian Baumann Ende 2009 hatte, war es, eine handliche Schnupftabakmaschine zu entwickeln, welche einfach und jeder Zeit mitzuführen ist. Eine Schnupftabakmaschine welche handlich, einfach zu bedienen und in die Hemdtasche passen sollte. Dies führte zum Bau des ersten und zweiten Prototypen der Schnupfdosn.
Die Konstruktion wurde noch aus den jeweiligen Einzelteilen zusammengeleimt, war aber schon zu diesem Zeitpunkt mit der gewünschten Funktion einfach zu bedienen.
Weiterentwicklung
 (Anfang 2010)
Die Weiterentwicklung der Prototypen durch Andreas Engl ließ aus den beiden, noch optisch sehr einfachen Schnupfdosn, eine ergonomische und optisch ansprechende Form entstehen. Zunächst entstand der ähnlich aussehende Nachbau (Prototyp 3). Durch die Anpassung der Formgebung und Weiterentwicklung der Mechanik (Prototypen 4 & 5) ist die heutige Schnupfdosn entstanden. Auf dieser Grundlage folgten weitere Unternehmensschritte bis hin zur Anmeldung beim Deutschen Patent- und Markenamt.
Anmeldung der "Idee"
 (Ende 2010 bis Anfang 2011)
Nachdem der Prototyp die Entwicklungsreife bis hin zum fertigen Produkt erreicht hatte, stellte sich die Frage, ob wir unser erschaffenes Produkt mit der Welt teilen möchten. Daraus resultierte auch die Frage ob wir unsere Idee schützen sollten? Wir entschieden uns, das Produkt zunächst selbst zu produzieren und wollten mit einer gewissen Sicherheit unser Produkt schützen lassen, um Nachahmungen zu vermeiden. So erfolgte die Gebrauchs- und Geschmacksmusteranmeldung beim Deutschen Patent- und Markenamt (DPMA) sowie die Anmeldung einer Bildmarke beim Amt der Europäischen Union für geistiges Eigentum (EUIPO) in den Jahren 2010 bis 2011.
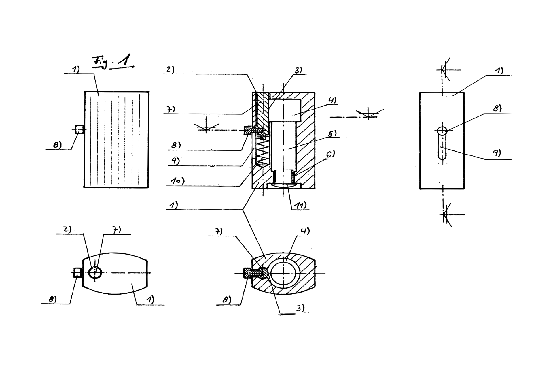
Das Gebrauchsmuster der Erfinder Florian Baumann und Andreas Engl wurde am 13. November 2010 als "Ergonomischer Behälter und Dosiereinrichtung für Granulate" angemeldet und mit dem Aktenzeichen "20 2010 012 878.1" registriert.
Die handliche Formgebung wurde als Geschmacksmuster (Design) mit den Designnummern 402010005190-0001 bis -0003 ebenfalls am 13. November 2010 angemeldet und beim Deutschen Patent- und Markenamt registriert.
Das Firmenlogo entwickelte sich aus den beiden Nachnamen der Erfinder Baumann (Sinnbild für den Baum) und Engl (Sinnbild für die Engelsflügel). Das gestaltete Logo wurde als Unionsmarke mit der Markennummer 009776907 beim Amt der Europäischen Union für geistiges Eigentum (EUIPO) als Bildmarke registriert.
Geschäftsgründung
 (2010)
Das Unternehmen wurde 2010 als Nebengewerbe der Heizungsbaufirma Andreas Engl gegründet. Die ersten Schnupfdosn wurden in Handarbeit selbst in der eigenen Werkstatt gefertigt. Als die Nachfrage anstieg, suchten wir uns einen Partner der die Holzkörper ebenfalls in Handarbeit, mit der gewünschten Qualität, zuverlässig fertigen konnte. Mit der Werkstatt für Menschen mit Behinderung in Steinhöring haben wir einen Partner gefunden, der das Produkt in einer hohen Qualität fertigen kann und wir als Unternehmen gleichzeitig einen sozialen Beitrag für unsere Gesellschaft leisten können.
Geschäftsentwicklung
 (2011 bis 2019)
In den folgenden Jahren stiegen die Verkaufszahlen stetig. Diese Entwicklung erfolgte durch die vertrieblichen Erweiterungen über Online-Händler (SnuffStore in Deutschland und Breeze GmbH in der Schweiz). Mittlerweile werden die Schnupfdosn von uns in die ganze Welt versendet. Bis 2019 zählen Kunden aus Österreich, Schweiz, Italien, Niederlanden, USA, Kanada, Schweden und Australien zu unserem Kundenstamm.
Neugründung
 (2020)
Auf Grund der bisherigen Entwicklung haben wir uns entschieden, das Unternehmen als Nebengewerbe der Heizungsfirma abzutrennen und neu als Gesellschaft bürgerlichen Rechts (GbR) zu gründen. Das heutige Unternehmen mit den beiden Geschäftsführern Florian Baumann und Andreas Engl wurde am 01.01.2020 gegründet.
 
 
  
 
  
 
  
 
  
 
  
 
  
 
  
 
  
 
  
 










