Company history
Basic idea
(end of 2009)
The basic idea that Florian Baumann had at the end of 2009 was to develop a snuffmachine that is easy to carry at any time. A snuffmachine which is handy, easy to use and should fit in your shirt pocket. This led to the construction of the first and second prototypes of the snuffboxes. The construction was still glued together from the individual parts, but already at this time it was easy to use with the desired features.
Further development
(beginning of 2010)
The further development of the prototypes by Andreas Engl resulted in an ergonomic and visually appealing form of the two optically very simple snuffboxes. First, the similar-looking replica (prototype 3) was created. Adapting the design and further development of the mechanics (prototypes 4 & 5) has created today's snuffbox. On this basis, other steps of corporate development followed, right up to the registration with the German Patent and Trademark Office.
Registration of the "Idea"
(late 2010 to early 2011)
After the prototype reached maturity all the way to the finished product, we asked ourselves if we would share our product with the world. This also resulted in the question of whether we should protect our idea? We decided to initially manufacture the product ourselves and wanted to protect our product with a certain assurance in order to avoid counterfeiting. Thus, the utility and design application with the German Patent and Trademark Office (DPMA) and the application of a figurative mark at the European Union Intellectual Property Office (EUIPO) was filed in the years 2010 to 2011.
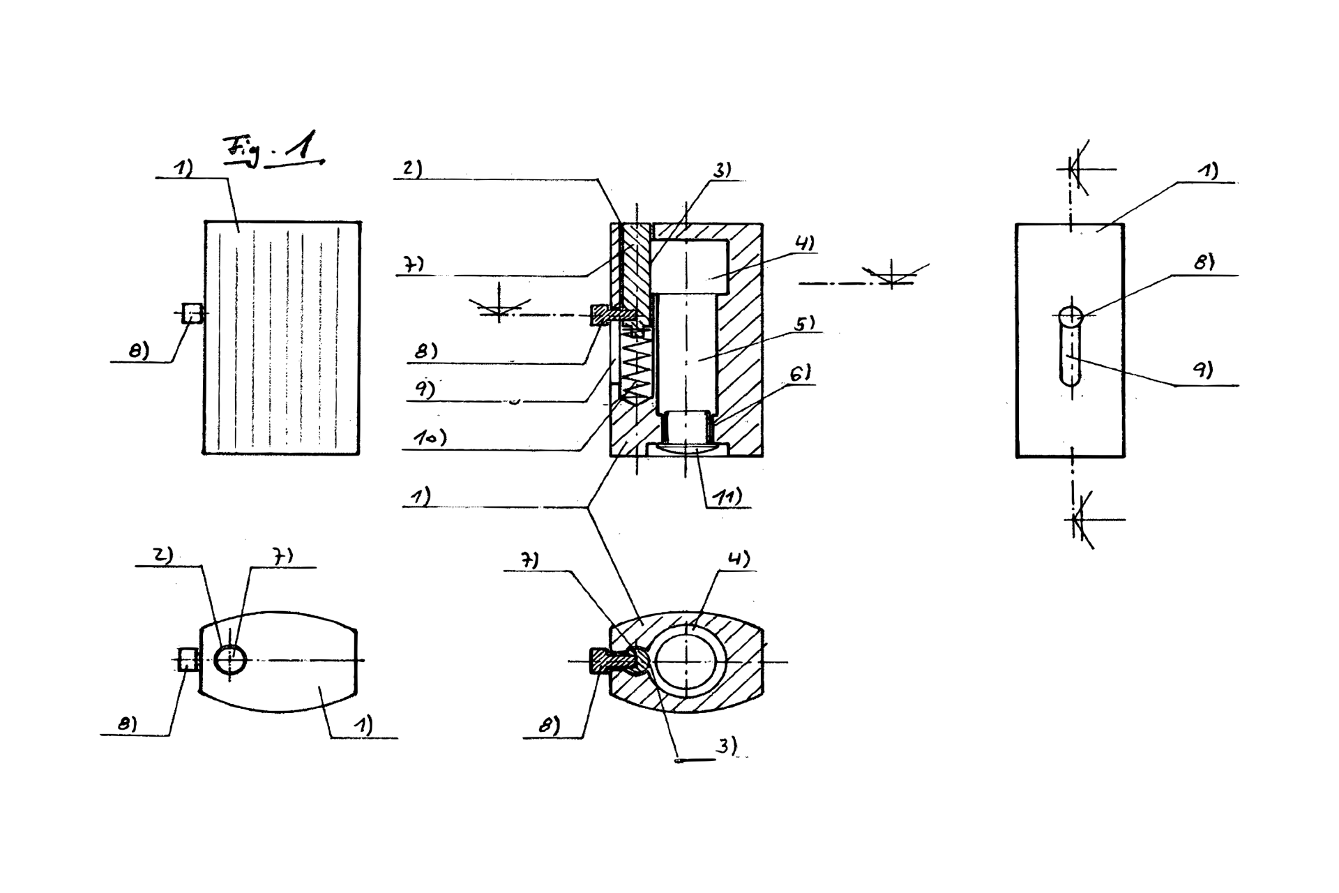
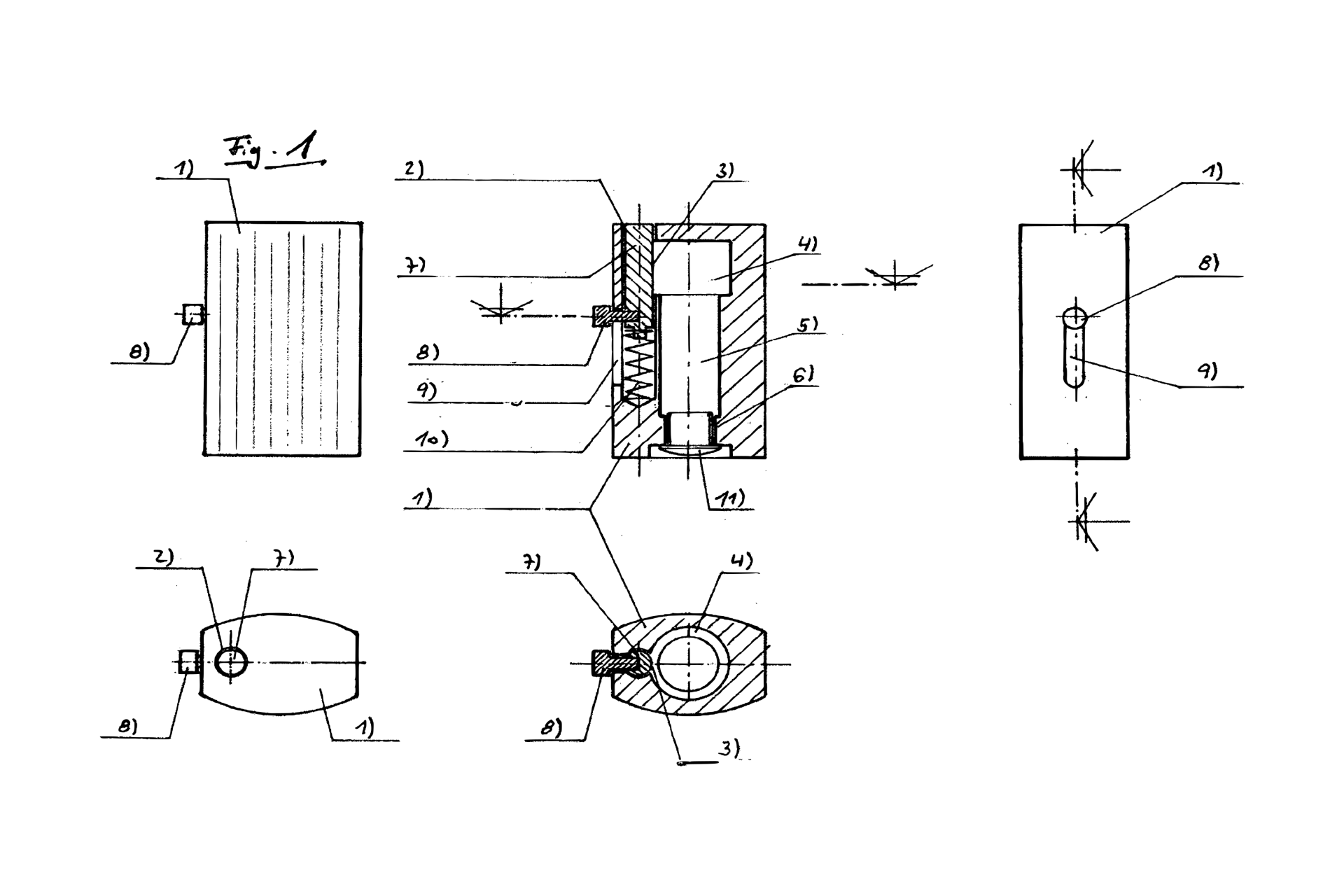
The utility model of the inventors Florian Baumann and Andreas Engl was registered on November 13th, 2010 as "Ergonomic container and dosing device for granules" and registered with the file number "20 2010 012 878.1".
The handy design was registered as a design with the file numbers 402010005190-0001 to -0003 also on November 13th, 2010 at the German Patent and Trademark Office.
The company logo developed from the two last names of the inventors Baumann (symbol of the tree) and Engl (symbol of the angel wings). The designed logo was registered as an EU trade mark, trade mark number 009776907, at the European Union Intellectual Property Office (EUIPO) as figurative mark.
Business Foundation
(2010)
The company was founded in 2010 as a subsidiary business of the heating construction company Andreas Engl. The first snuffboxes were made by hand, even in our own workshop. As demand increased, we looked for a partner who could manufacture the wooden body also by hand with the desired quality. With the workshop for people with disabilities in Steinhöring we have found a partner who can produce the product in a high quality. So our company can make a social contribution to our society.
Business Development
(2011 to 2019)
In the following years the sales increased steadily. This development took place through the sales extensions via online seller (SnuffStore in Germany and Breeze GmbH in Switzerland). Meanwhile, we send our snuffboxes all around the world. Up to 2019 , customers from Austria, Switzerland, Italy, Netherlands, USA, Canada, Sweden and Australia are part of our customer base.
New Business Foundation
(2020)
Based on the development so far, we have decided to separate the company as a subsidiary of the heating company and to found a new company under civil law (GbR). Today's company with the two managing directors Florian Baumann and Andreas Engl was founded on January 1st, 2020.










